GZB-2型电阻应变式拉压力传感器、变送器

- 产品分类:称重测力传感器
- 全国咨询热线:
- 13907318074
分享到:
概述
GZB-2型电阻应变式拉压力传感器,采用悬臂梁弹性元件结构,具有性能稳定,可靠性好等特点,可作拉压而用,广泛用于各系统中进行低量程的测量和力的分析。
主要技术指标
非线性误差 ≤±0.1℅F.S
滞后误差 ≤±0.1℅F.S
重复性误差 ≤±0.05℅F.S
输出灵敏度 1~1.5mV/V
温度零点影响 0.01℅F.S/℃
输出阻抗及桥压 350Ω/10VDC
绝缘电阻 ≥2000ΜΩ
过载能力 120℅F.S
工作坏境温度 -10℃~+55℃
系列规格 1、2、3、5、7、10、15、 20(㎏)
10、 20、30、 50、70、100、150、200(N)
变送输出 0~5VDC 0~10VDC 1~5VDC 0~10mA 0~20mA 4~20mA
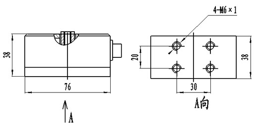
外形尺寸(mm)
GZB-2型电阻应变式拉压力传感器,采用悬臂梁弹性元件结构,具有性能稳定,可靠性好等特点,可作拉压而用,广泛用于各系统中进行低量程的测量和力的分析。
主要技术指标
非线性误差 ≤±0.1℅F.S
滞后误差 ≤±0.1℅F.S
重复性误差 ≤±0.05℅F.S
输出灵敏度 1~1.5mV/V
温度零点影响 0.01℅F.S/℃
输出阻抗及桥压 350Ω/10VDC
绝缘电阻 ≥2000ΜΩ
过载能力 120℅F.S
工作坏境温度 -10℃~+55℃
系列规格 1、2、3、5、7、10、15、 20(㎏)
10、 20、30、 50、70、100、150、200(N)
变送输出 0~5VDC 0~10VDC 1~5VDC 0~10mA 0~20mA 4~20mA
外形尺寸(mm)
测量范围 | 外形尺寸 | 安装尺寸 | 连接螺纹尺寸 | |
㎏ | N | |||
1~20 | 10~200 | 76×38×38 | 30×20×4孔Μ4 | Μ6×1 |
