BHR-4A型電阻應變式荷重傳感器、變送器

- 產品分類:稱重測力傳感器
- 全國咨詢熱線:
- 13907318074
分享到:
概述
BHR-4A型電阻應變式荷重傳感器,采用剪切梁結構,具有良好的自然性和穩定性、抗偏載能力強、精度高、外形高度低、安裝方便穩定。可廣泛用于料斗秤、汔車衡、軌道衡等電子秤中。也可在各系統中作力的分析和測量。
主要技術指標
非線性誤差 ≤±0.05℅F.S
滯后誤差 ≤±0.05℅F.S
重復性誤差 ≤±0.025℅F.S
輸出靈敏度 2~2.5mV/V
溫度零點影響 0.005%F.S/℃
蠕變(min) ±0.05℅F.S
輸出阻抗及橋壓 350Ω/10VDC
絕緣電阻 ≥2000ΜΩ
過載能力 120℅F.S
工作環境溫度 -10℃~+55℃
系列規格 100、200、300、500、700、1000(Kg)
變送器輸出 0~5VDC 0~10VDC 1~5VDC 0~10mA 0~20mA 4~20mA
BHR-4A型電阻應變式荷重傳感器,采用剪切梁結構,具有良好的自然性和穩定性、抗偏載能力強、精度高、外形高度低、安裝方便穩定。可廣泛用于料斗秤、汔車衡、軌道衡等電子秤中。也可在各系統中作力的分析和測量。
主要技術指標
非線性誤差 ≤±0.05℅F.S
滯后誤差 ≤±0.05℅F.S
重復性誤差 ≤±0.025℅F.S
輸出靈敏度 2~2.5mV/V
溫度零點影響 0.005%F.S/℃
蠕變(min) ±0.05℅F.S
輸出阻抗及橋壓 350Ω/10VDC
絕緣電阻 ≥2000ΜΩ
過載能力 120℅F.S
工作環境溫度 -10℃~+55℃
系列規格 100、200、300、500、700、1000(Kg)
變送器輸出 0~5VDC 0~10VDC 1~5VDC 0~10mA 0~20mA 4~20mA
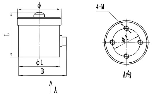
測量范圍 | 外形尺寸及安裝尺寸(mm) | |||||
㎏ | Φ | Φ1 | Φ2 | Μ | B | L |
100~1000 | 65 | 62 | 42 | M6 | 76 | 60 |
